AG贵宾会

行业动态

了解最新公司动态及行业资讯

有机污染土壤热解吸处理设备—尾气处理系统

2017-12-27 06:41:29 329 编辑:admin 来源:本站
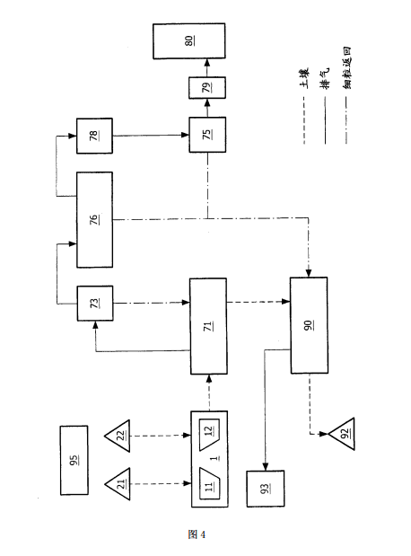
       本实用新型提供了一种尾气处理系统和有机污染土壤热解吸处理设备,属于污染土壤 修复设备,该尾气处理系统包括除尘设备、颗粒处理设备和尾气排放设备,颗粒处理设备 包括颗粒净化器和燃烧室,燃烧室与颗粒净化器连接,该尾气处理系统通过颗粒处理设备 对除尘设备脱除的颗粒进行处理,通过加热颗粒使有机物在高温下脱除,净化后的颗粒的 有机物脱除率高,处理效果更好,对环境无污染。本实用新型实施例提供的有机污染土壤 热解吸处理设备,包括低温热解吸窑系统、高温热解吸窑系统和上述尾气处理系统,通过 低温热解吸窑系统、高温热解吸窑系统对有机污染土壤进行分类处理,并利用尾气处理系 统对处理后的尾气进行处理,处理效果更好,有机物脱除率高。 
      尾气处理系统包括除尘设备,颗粒处理设备和尾气排放设备,所述颗粒处理设备包括颗粒 净化器和用于加热所述颗粒净化器内的颗粒并推动所述颗粒运动的燃烧室,所述燃烧室与 所述燃烧室与所述颗粒净化器连接,所述颗粒净化器设置有颗粒土壤进口,颗粒尾气出口 和净化器颗粒出口,所述颗粒土壤进口与所述除尘设备连接,所述颗粒尾气出口与所述尾 气排放设备连接。 
 
      尾气处理它的特征:颗粒净化器包括上升段和排出段,所述上升段与所述排出段呈倒L形 ,所述上升段的一端与所述燃烧器室连通,另一端与所述排出段连通,所述颗粒土壤进口 设置在所述上升段靠近所述燃烧室的部分。所述燃烧室设置有燃气进口和空气进口,燃烧 室位于颗粒净化器的下方。
 

30

装备制造经验

立即免费获取土壤修复方案

为用户提供及时、高效、便捷的服务

在线咨询
AG贵宾会环境希望与你携手,共创美好未来...
5