环保即环境保护,环境保护涉及的范围广且综合性强,它涉及自然科学和社会科 学的许多领域等,还有其独特的研究对象。环境保护方式包括:采取行政、法律、经济、科学 技术和民间自发环保组织等等,合理利用自然资源,防止环境的污染和破坏,以求自然环境 同人文环境和经济环境共同平衡可持续发展,扩大有用资源的再生产,保证社会的发展,随 着工业化的发展,虽然给人们带来了很大的便利,但是同时也带来了很大的污染,土壤中含 有大量的重金属元素,将严重影响作物的生长一起人们的身体健康,但是一般人们都是采 用喷洒药物的方式进行治理,不仅浪费比较严重,而且对于地表内部治理效果不好。 根据它的不足我们提供了一种环境修复的土壤治理设备,具备可以降低成本而 且治理效果好的优点,解决了现有技术中治理效果不好的问题。

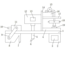
环境土壤修复的治理设备,包括支撑架,支撑架下表面的左侧固定安装有第一松土箱,第一松土箱的顶部固定安装有传动箱,传动箱的一侧设置有传动轴,第一松土箱的左侧设置有联动箱,传动箱与联动箱之间固定安装有传动杆,第一松土箱的右侧固定安装有挡板,支撑架的顶部固定安装有支撑板,支撑板的左侧固定安装有调节箱,调节箱的底部固定安装有支撑腿。本实用新型利用第一松土箱将坚硬的地面破碎,然后将调节箱内的放置的调节剂通过支脚送入土壤内部,然后在通过第二松土箱将地面破碎,可以使调节剂投放的更加均匀,可以减少挥发浪费,而且直接将调节剂送入土壤内部,可以对重金属元素的治理效果更好。
郑州市长椿路11号国家大学科技园孵化1号楼513
电话:0371-61772378
邮箱:desenhuanjing@163.com
微信公众号
AG贵宾会环境抖音号 30年
装备制造经验
为用户提供及时、高效、便捷的服务