AG贵宾会

行业动态

了解最新公司动态及行业资讯

土壤热脱附对于未来的需求

2018-08-28 01:05:45 338 编辑:admin 来源:本站
    土壤是人类赖以生存的重要自然资源,也是人类生态环境的重要组成部分。随着 社会技术经济的发展,人们生活水平、健康水平的不断提高,对实现绿色环境提出了更高的 要求,治理环境污染也成为城市建设的重要课题。 
   随着产业结构的调整,许多城市中原来处在主城区的工业企业倒闭或搬迁,遗留 下大量高污染土壤修复,包括大量有机污染土壤,会污染到周边大气和水,给人们生活、健康产 生不良影响,这些受到污染的场地必须经过士壤修复才能投入新的用途。 石油污染的土壤也是世界性的环境问题之一,石油在开发、存储、运输、加工和应 用过程中的泄露和排放均对环境造成污染,且呈逐渐严重的趋势。石油污染土壤不仅会影 响土壤质量,抑制植物生长,还可以通过食物链影响人体健康。因此对有污染的土壤进行修 复治理成为环境保护的重要内容。 
土壤热脱附

     土壤修复一直是国际上的难点和热点研究课题,我国国内一些高校和科研部门已 经意识到国家未来的需求、政策导向,预见到未来产业发展的巨大空间,所以在技术和管理 等领域上做了相关工作。 
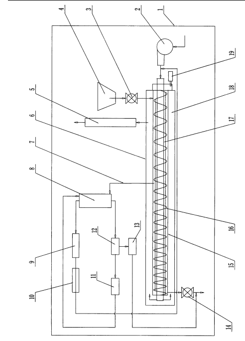
     对于有机污染土壤或汞污染土壤的修复,土壤热脱附技术是主要的污染土壤修复技术 之一,该技术是用直接或间接的热交换加热,使土壤中污染组分达到足够的温度,使其蒸发 并与土壤媒介相分离的过程。分离后的污染组分再通过焚烧、吸附或化学反应等方式进行 进一步处理。热脱附装置中的热量传递媒介通常为空气、燃烧烟气、惰性气体、高温蒸汽、导 热油或熔盐等,土壤热脱附过程是土壤中污染组分从固相或液相热传递进入气相的物理过程。

30

装备制造经验

立即免费获取土壤修复方案

为用户提供及时、高效、便捷的服务

在线咨询
AG贵宾会环境希望与你携手,共创美好未来...
5