AG贵宾会

行业动态

了解最新公司动态及行业资讯

无水喷淋的土壤热解析设备

2018-09-05 00:55:25 338 编辑:admin 来源:本站
    土壤热解析由于其优越性越来越受到环保领域的重视。在现有技术中,热解气需经过 流水喷淋是一种常态。申请号为200910177296 .3的发明创造公开了一种直接土壤热解析设备, 其热解气经由旋风除尘器、布袋除尘器、洗涤塔后排放。申请号为201710519366 .3的发明创 造公开了一种受污染土壤热脱附修复设备及方法,该方案中,热解气需经过除尘装置和 喷淋装置,喷淋产物经三相分离装置分离后收集再利用。
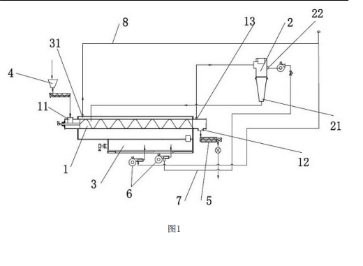
土壤热解析 

    本发明的目的在于克服现有技术的不足,提供一种无水喷淋的土壤热解析设备及热解 析设备中热解气的无水喷淋处理方法,实现不用流水喷淋的热解气处理方式。 
    为了实现上述目的,本发明的技术方案如下: 无水喷淋的土壤热解析设备,包括热解析单元、热解气处理单元、燃烧单元,热解析单元具 有入料口、出料口、热解气出口,燃烧单元为热解析单元提供热源,物料在热解析单元热解 产生热解气,热解气从热解气出口导出后进入热解气处理单元,所述热解气处理单元为除 尘装置,除尘装置设有出尘口和出气口,出尘口与热解析单元连通,出气口与燃烧单元连 通。

30

装备制造经验

立即免费获取土壤修复方案

为用户提供及时、高效、便捷的服务

在线咨询
AG贵宾会环境希望与你携手,共创美好未来...
5