AG贵宾会

行业动态

了解最新公司动态及行业资讯

污染场地修复的技术方法有哪些

2019-01-09 01:00:14 318 编辑:admin 来源:本站
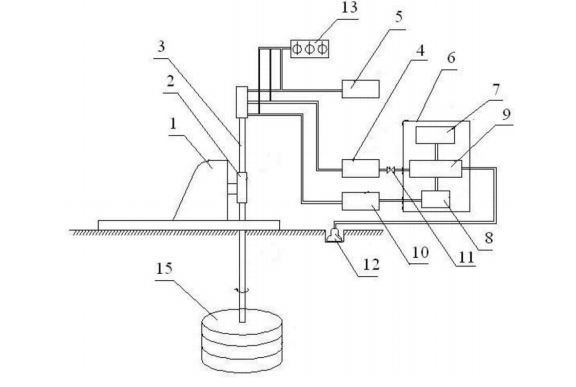
     污染场地修复技术按照污染场地与修复场地的相对位置不同可以分为原位修 复技术和异位污染土壤修复技术两类。与异位修复技术相比,原位修复技术更为经济,不需要建设昂 贵的地面环境工程设施,也不需要对污染物进行远程运输,就可以使污染物降解和减毒。并 且,原位修复技术可以对深层土壤进行修复,且对土壤扰动小,适用于较大规模的土壤修复 工程。但大多原位修复技术的缺点是受场地本身的特性影响较大,修复效果不易得到保证。 因此,研发效果良好的原位修复技术尤为迫切。 
污染场地修复

     目前,原位污染场地修复技术主要有:淋洗、气相抽提(SVE)、污染物固定法、原 位化学氧化/还原修复技术。淋洗主要用于治理高渗透性土壤中的重金属和难挥发降解的 有机物;土壤气相抽提适用于处理土壤中的易挥发的污染物,并常与加热技术联用;污染物 固定法可直接加入药剂反应发生沉淀,也可制造合适条件使微生物生成可沉淀重金属的离 子;原位化学氧化/还原修复技术是指通过向地下环境投加修复药剂(化学氧化剂、还原剂 等),使其与污染物质发生化学反应,降解为无毒或低毒物质,从而实现污染物去除、净化的 目的,该类技术可同时处理多种污染物,处理效率较高。

30

装备制造经验

立即免费获取土壤修复方案

为用户提供及时、高效、便捷的服务

在线咨询
AG贵宾会环境希望与你携手,共创美好未来...
5