AG贵宾会

行业动态

了解最新公司动态及行业资讯

土壤热脱附系统为什么要不断与时俱进

2019-03-20 06:34:19 287 编辑:admin 来源:本站
     目前,我国土壤的有机物污染十分严重,且对农产品和人体健康的影响已开始显 现。土壤中的有机物污染物质主要来源于有机农药和工业“三废”,较常见的有机农药、多环 芳烃(PAHs)、有机卤代物中多氯联苯和二噁英,以及油类污染物质、邻苯二甲酸酯等有机化 合物。另外,随着农膜的大面积使用,其对土壤污染也相当严重,热脱附作为一种非燃烧技 术,污染物处理范围宽、设备可移动、修复后土壤可再利用,特别是对含氯有机物,非氧化燃 烧的处理方式可以避免二恶英的生成,广泛用于有机污染物污染土壤的修复。目前,污染土 壤传统热脱附技术为滚筒式土壤热脱附,新兴热脱附技术包括流化床式热脱附、微波热脱附技 术和远红外线热脱附,而一般的热脱附土壤修复装置并不能够针对性对土壤修复,因 此,一种改进型热脱附土壤修复装置必将拥有良好的市场前景。
土壤热脱附
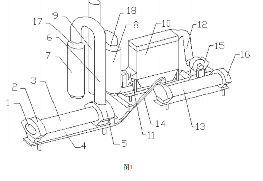
    一种改进型土壤热脱附土壤修复装置,本实用新型的结构简单,且实用性强,包括进料口,所述进料口一侧连接有抽风机,所述抽风机一侧连接有热脱附装置,所述热脱附装置底部连接有底座,所述热脱附装置一侧设置有气泵,所述气泵一侧连接有给料管,所述给料管一侧连接有碱料箱,所述碱料箱出口处设置有阀门A,所述给料管另一侧连接有酸料箱,所述酸料箱出口处设置有阀门B,所述酸料箱一侧设置有PH检测器,所述PH检测器一侧设置有除尘装置,所述除尘装置一侧设置有信号收发器,所述信号收发器一侧设置有连通管,所述连通管一侧连接有冷却装置,所述除尘装置另一侧连接有气管,所述气管一侧连通由排气口,所述排气口一侧连接有出料口。

30

装备制造经验

立即免费获取土壤修复方案

为用户提供及时、高效、便捷的服务

在线咨询
AG贵宾会环境希望与你携手,共创美好未来...
5