AG贵宾会

行业动态

了解最新公司动态及行业资讯

土壤热脱附怎么处理油污污染的土壤

2019-03-28 03:18:46 330 编辑:admin 来源:本站
     土壤热脱附技术的加热方式有直接加热和间接加热两种,但直接加热的形式会产生大 量尾气,对于组分复杂的石油烃污染物,有产生二噁英的风险,尾气排放难以满足要求;而 间接加热技术由于是在无氧的加热环境下,因此可避免二噁英的产生,且可通过冷凝的方 式回收石油烃污染土壤修复中的油资源,因此间接加热形式逐渐成为主流技术。常见的间接热 脱附技术的操作形式以异位开挖、转运处置为主,设备硬化面积较大,且运输过程有产生二 次污染的风险,如运输距离较远,则增加施工成本。 
土壤热脱附

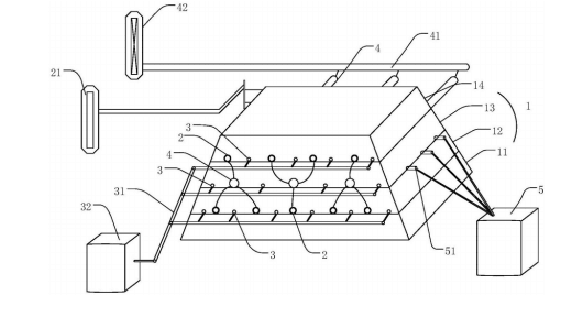
      一种油污污染土壤的节能原位土壤热脱附处理装置和处理方法。处理装置包括:加热组件,该加热组件包括加热管,加热管设置在油污污染土壤内部;抽提组件,该抽提组件包括抽提管,抽提管设置在油污污染土壤中;烟气排放组件,包括返烟管,返烟管与加热管相连通;惰性气体鼓入组件;监测组件,设置在油污污染土壤中;污染气体处理组件,与抽提组件相连通。处理方法包括:原地异位搭建油污污染土壤土堆;搭建油污污染土壤土堆过程中,设置本发明公开的油污污染土壤的节能原位热脱附处理装置;在搭建完成的土堆外依次设置保温层、密封层;加热土堆,土壤中的油污经过加热,挥发组分经由抽提组件进入污染气体处理组件,实现油污回收。

30

装备制造经验

立即免费获取土壤修复方案

为用户提供及时、高效、便捷的服务

在线咨询
AG贵宾会环境希望与你携手,共创美好未来...
5