AG贵宾会

公司动态

了解最新公司动态及行业资讯

污染土壤电磁热脱附系统

2017-10-19 01:08:18 369 编辑:admin 来源:本站
  土壤热脱附技术是用直接或间接的热交换方式将土壤中的有机污染组分加热到足够高的温度,使其蒸发并与土壤介质相分离的过程。目前欧美国家已将土壤热脱附技术工程化,广泛应用于高污染场地中有机污染土壤的异位或原位修复。国内也有多个污染场地开始了异位热脱附技术的工程化应用。热脱附技术的优点是污染物处理范围宽、设备可移动、修复后土壤可再利用等,特别对 PCBs 这类含氯有机物,非氧化燃烧的处理方式可以显著减少二噁英生成,缺点是相关设备价格昂贵、脱附时间过长、处理成本过高,同时针对不同污染类型土壤要采用一定的前处理工艺,脱附废气也需妥善处理。
  中国专利 CN102172615A 中公开了一种真空强化远红外热脱附系统,这种系统的缺点是要求真空操作,因此其设备和操作条件要求较为严格和复杂。中国专利CN202143898U 中公开了一种滚筒式热脱附设备,缺点是由于该设备是利用合金炉丝直接加热炉体的下端,因此滚筒容易因加热而产生变形,从而影响其使用寿命。中国专利CN102029287B 中公开了一种滚筒式逆向热脱附系统,该系统是依靠与污染土壤逆向流动的热空气来加热土壤,以脱除土壤中的污染物,缺点是所需空气量较大,并且废气处理困难。
  为了解决上述问题,本发明的目的在于提供一种节省能源、操作方便的污染土壤热脱附技术--电磁热脱附系统。
  一、技术原理
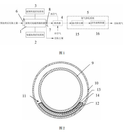
  为了达到上述目的,本发明提供的污染土壤电磁热脱附系统包括滚筒式电磁热脱附器、电磁加热控制系统、滚筒转速控制系统、换热器和尾气净化系统 ;其中滚筒式电磁热脱附器的一端设有进料装置,另一端设有出料装置和排气口 ;换热器上设有空气进口、空气出口、尾气进口和尾气出口,其中尾气进口通过管路与滚筒式电磁热脱附器上的排气口相连,尾气出口通过管路与尾气净化系统的进口相接,空气出口则通过管路与滚筒式电磁热脱附器上的进料装置相连 ;电磁加热控制系统与滚筒式电磁热脱附器上的电磁加热装置相连接 ;滚筒转速控制系统则与滚筒式电磁热脱附器上的电机相连接。
  所述的滚筒式电磁热脱附器包括滚筒、保温层、电磁加热装置和电机 ;其中滚筒微倾斜设置,前端与进料装置相连通,后端与出料装置和排气口相连通,并且前端高于后端 ;保温层也呈筒状,环绕设置在滚筒的外侧 ;电磁加热装置设置在保温层和滚筒之间的环形空间中,由加热线圈、耐高温板和电磁屏蔽板组成,其中加热线圈位于保温层和滚筒之间中间部位 ;耐高温板设置在加热线圈和滚筒之间 ;电磁屏蔽板设置在加热线圈和保温层之间,并且两端向内折弯后与耐高温板的两端相连 ;电机通过传动装置与滚筒的一端或两端相连。
  所述的尾气净化系统主要由依次相连的湿式除尘器和活性炭吸附器组成,其中湿式除尘器为喷雾塔或旋风水膜式除尘器。
  所述的进料装置为螺旋式进料器,其上设有进料斗和热空气入口,热空气入口通过管路与换热器上的空气出口相连 ;出料装置上设有出料孔和闸板阀。
  所述的连接在换热器上空气出口与滚筒式电磁热脱附器上进料装置之间的管路上设有引风机。
  所述的电磁加热装置为一组或多组,一组时设置在滚筒底部下面,多组时均匀设置在保温层和滚筒之间的环形空间中。
  所述的滚筒内设有至少一个与电磁加热控制系统相连的测温元件。
  所述的换热器内设有多条冷凝管,冷凝管内流动尾气。
  二、附图说明
污染土壤电磁热脱附系统组成示意图
  图 1 为本发明提供的污染土壤电磁热脱附系统组成示意图。
  图 2 为图 1 示出的滚筒式电磁热脱附器横向截面示意图。
  三、污染土壤电磁热脱附系统具有如下优点 :
  1、其上的加热线圈采用绝缘材料和高温电缆制成,本身并不发热,因此使用寿命长,并且较普通电加热装置节能约 30% -60%,所以能够降低成本 ;
  2、滚筒外部包有用于隔热的保温层,因此可以大大减少热量的散失,提高热效率 ;
  3、能够连续进料,并且操作方便,废气处理量少且温度较低,因此处理方便。

30

装备制造经验

立即免费获取土壤修复方案

为用户提供及时、高效、便捷的服务

在线咨询
AG贵宾会环境希望与你携手,共创美好未来...
5